Synthesis and reactions of alkenyl-gem-dichlorocyclopropanes obtained from piperylene
https://doi.org/10.32362/2410-6593-2020-15-5-16-25
Abstract
Objectives. This study aims to obtain alkenyl-gem-dichlorocyclopropanes from piperylene. The products are then subjected to thermocatalytic isomerization and hydrogenation.
Methods. To determine the qualitative and quantitative composition of the reaction crudes, the following analytical methods were used: gas-liquid chromatography using the Crystal 2000 hardware complex, mass spectrometry using a Chromatec-Crystal 5000M device with the NIST 2012 database, and nuclear magnetic resonance (NMR) spectroscopy using a Bruker AM-500 device at operating frequencies of 500 and 125 MHz.
Results. Alkenyl-gem-dichlorocyclopropanes were synthesized in the presence of triethylbenzyl ammonium chloride as catalyst. Their isomerization and hydrogenation gave the corresponding gem-dichlorocyclopentene and isomers of alkyl-gem-dichlorocyclopropanes. The structure of synthesized substances were analyzed by gas-liquid chromatography, mass spectrometry, and NMR spectroscopy.
Conclusions. The results show that formation of four isomeric substituted gem-dichlorocyclopropanes occurs in high yield during incomplete dichlorocyclopropanation of piperylene. The thermocatalytic isomerization of substituted gem-dichlorocyclopropanes in the presence of SAPO-34 zeolite leads to the formation of one product, i.e., gem-dichlorocyclopentene, and hydrogenation of substituted gem-dichlorocyclopropanes in the presence of Pd/C catalyst gives three isomeric alkyl-gem-dichlorocyclopropanes.
Keywords
About the Authors
A. I. MusinRussian Federation
Airat I. Musin, Postgraduate Student, Department of General, Analytical and Applied Chemistry. ResearcherID R-9142-2016
2, Oktyabrya pr., Sterlitamak, 453118, Russia
Yu. G. Borisova
Russian Federation
Yulianna G. Borisova, Cand. of Sci. (Chemistry), Teacher, Department of General, Analytical and Applied Chemistry. ResearcherID P-9744-2017, Scopus Author ID 56526865000
2, Oktyabrya pr., Sterlitamak, 453118, Russia
G. Z. Raskil’dina
Russian Federation
Gul’nara Z. Raskil’dina, Cand. of Sci. (Chemistry), Associate Professor, Department of General, Analytical and Applied Chemistry. ResearcherID F-1619-2017, Scopus Author ID 56069888400
1, Kosmonavtov ul., Ufa, 450064, Russia
R. U. Rabaev
Russian Federation
Ruslan U. Rabaev, Cand. of Sci. (Engineering), Vice Rector for Innovation and Scientific Work. Scopus Author ID 57207916610
1, Kosmonavtov ul., Ufa, 450064, Russia
R. R. Daminev
Russian Federation
Rustem R. Daminev, Dr. of Sci. (Engineering), Professor, Director. Scopus Author ID 15026168000
2, Oktyabrya pr., Sterlitamak, 453118, Russia
S. S. Zlotskii
Russian Federation
Simon S. Zlotskii, Dr. of Sci. (Chemistry), Professor, Head of Department of General, Analytical and Applied Chemistry. ResearcherID W-6564-2018, Scopus Author ID 6701508202
1, Kosmonavtov ul., Ufa, 450064, Russia
References
1. Kuznetsova T.S., Averina E.B., Yashin N.V., Sedenkova K.N. Khimiya tsiklopropanovykh soedinenii: dostizheniya i perspektivy. Organicheskaya khimiya v rabotakh N.S. Zefirova: sbornik obzorov (Chemistry of cyclopropane compounds: achievements and prospects. In: Organic chemistry in the works of N.S. Zefirov: collection of reviews). Ufa: Gilem; 2012. P. 31-71 (in Russ.).
2. Ebner C., Carreira E.M. Cyclopropanation strategies in recent total syntheses. Chem. Rev. 2017;117:11651-11679. https://doi.org/10.1021/acs.chemrev.6b00798
3. Batista G.M.F., De Castro P.P., Carpanez A.G., Horta B.A.C., Amarante G.W. Gem-Dichlorocyclopropanation of dicarbonyl derivatives. Chem. Eur. J. 2019;25(72):16555-16563. https://doi.org/10.1002/chem.201904149
4. Stanislawski P.C., Willis A.C., Banwell M.G. Gem‐dihalocyclopropanes as building blocks in naturalproduct synthesis: enantioselective total syntheses of ent‐erythramine and 3‐epi‐erythramine. Chem. Asian J. 2007;2:1127-1136. https://doi.org/10.1002/asia.200700155
5. Liu L.J., Kim E., Hong J.H. Synthesis of novel 6′-spirocyclopropyl-5′-norcarbocyclic adenosine phosphonic acid analogues as potent anti-hiv agents. Nucleos. Nucleot. Nucls. 2011;30(10):784-797. https://doi.org/10.1080/15257770.2011.602656
6. Thankachan A.P., Sindhu K.S., Krishnan K.K., Anilkumar G. Recent advances in the syntheses, transformations and applications of 1,1-dihalocyclopropanes. Org. Biomol. Chem. 2015;13(33):8780-8802. https://doi.org/10.1039/C5OB01088H
7. Kailania M.H., Al-Bakrib A.G., Saadeha H., Al- Hiari Y.M. Preparation and antimicrobial screening of novel 2,2-dichlorocyclopropane–cis-dicarbamates and comparison to their alkane and cis-alkene analogs. Jordan Journal of Chemistry. 2012;7(3):239-252.
8. Harvey J.E., Hewitt R.J., Moore P.W., Somarathne K.K. Reactions of 1,2-cyclopropyl carbohydrates. Pure Appl. Chem. 2014;86(9):1377-1399. https://doi.org/10.1515/pac-2014-0403
9. Fedorynski M. Syntheses of gem-dihalocyclopropanes and their use in organic synthesis. Chem. Rev. 2003;103(4):1099-1132. https://doi.org/10.1021/cr0100087
10. Dolbier Jr.W.R., Battiste M.A. Structure synthesis, and chemical reactions of fluorinated cyclopropanes and cyclopropenes. Chem. Rev. 2003;103(4):1071-1098. https://doi.org/10.1021/cr010023b
11. Le N.N.T., Klinkerch E.J., Thamattoor D.M. Stereochemistry of dichlorocarbene addition to alkenes: A Collaborative, Discovery-Based Experiment for the Organic Chemistry Laboratory. J. Chem. Educ. 2019;96(8):1727-1730. https://doi.org/10.1021/acs.jchemed.8b00758
12. Komissarova N.G., Belenkova N.G., Shitikova O.V., Spirikhin L.V., Yunusov M.S. Cyclopropanation of betulin and its diacetate with dihalocarbenes. Russ. J. Org. Chem. 2004;40(10):1462-1468. https://doi.org/10.1007/s11178-005-0041-1
13. Merrer D.C., Doubleday C. Dynamic control of dichlorocarbene addition to cyclopropene. J. Phys. Org. Chem. 2011;24(10):947-951 https://doi.org/10.1002/poc.1883
14. Lenhardt J.M., Black A.L., Craig S.L. Gemdichlorocyclopropanes as abundant and efficient mechanophores in polybutadiene copolymers under mechanical stress. J. Am. Chem. Soc. 2009;131(31):10818-10819. https://doi.org/10.1021/ja9036548
15. Mahdavi H., Amirsadeghi M. Kinetic study of dichlorocarbene addition to olefins via a quaternized highly branched polyacrylamide as a new multi-site phase transfer catalyst. Iran. Polym. J. 2012;21:641-649. https://doi.org/10.1007/s13726-012-0070-x
16. Makosha M., Fedoryński M. Phase transfer catalysis in dichlorocarbene chemistry: basic principles and specific features. Rus. Chem. Bul. 2011;60(11):2141-2146. https://doi.org/10.1007/s11172-011-0332-3
17. Vikhareva I.N., Shavshukova S.Yu., Udalova E.A. Cyclization reactions using microwave radiation. Bashkirskii khimicheskii zhurnal = Bashkir Chemical Journal. 2009;16(3):34-39 (in Russ.).
18. Gordeev E.G., Shkulipa A.Yu., Kirilin A.D. Reactions of dichlorocarbene, dichlorosilylene, and dichlorogermylene with carboranes(12). A theoretical study. Russ. J. Gen. Chem. 2014;84(7):1330-1338. https://doi.org/10.1134/S1070363214070147
19. Raskil’dina G.Z., Borisova Yu.G., Zlotskii S.S. Dichlorocarbenation of conjugated diene hydrocarbons. Neftekhimiya = Pet. Chem. 2017;57:278-283. https://doi.org/10.1134/S0965544117020219
20. Arbuzova T.V., Khamidullina A.R., Zlotsky S.S. Syntheses based on vinil-gem-dichlorcyclopropanes. Izv. Vyssh. Ucheb. Zaved. Khim. Khim. Tekhnol. 2007;50(6):15-17 (in Russ.).
21. Demlov E., Demlov Z. Mezhfaznyi kataliz (Interphase catalysis). Moscow: Mir; 1987. 485 p. (in Russ.).
22. Raskil’dina G.Z., Borisova Y.G., Davletshin A.R., et al. Catalytic Isomerization of substituted vinylcyclopropanes. Doklady Akademii Nauk = Doklady Chemistry. 2019;487(1):192-194. https://doi.org/10.1134/S0012500819070115
23. Treger Y.A., Rozanov V.N., Sokolova S.V., Murasheva O.P. Proceeding of ethylene and propylene from natural gas via the intermediate synthesis of methyl choride and its subsequent catalytic pyrolysis. Kataliz v promyshlennosti = Catalysis in Industry. 2012;3:15a-20 (in Russ.).
24. Oosthuizen R.S., Nyamori V.O. Carbon Nanotubes as Supports for Palladium and Bimetallic Catalysts for Use in Hydrogenation Reactions. Platinum Metals Rev. 2011;55(3):154-169. https://doi.org/10.1595/147106711X577274
25. Ilyin S.O., Petrukhina N.N., Kostyuk A.V., Filatova M.P., Antonov S.V., Maksimov A.L., Dzhabarov E.G. Hydrogenation of indene-coumarone resin on palladium catalysts for use in polymer adhesives. Russ. J. Appl. Chem. 2019;92(8):1143-1152. https://doi.org/10.1134/S1070427219080135
26. Brusentsova E.A., Zlotskii S.S., Kutepov B.I., Khazipova A.N. Relative activity of alkenyl-gemdichlorocyclopropanes in the reactions of hydrogenation and alkylation. Russ. J. Appl. Chem. 2009;82(6):1029-1032. https://doi.org/10.1134/S1070427209060196
Supplementary files
|
|
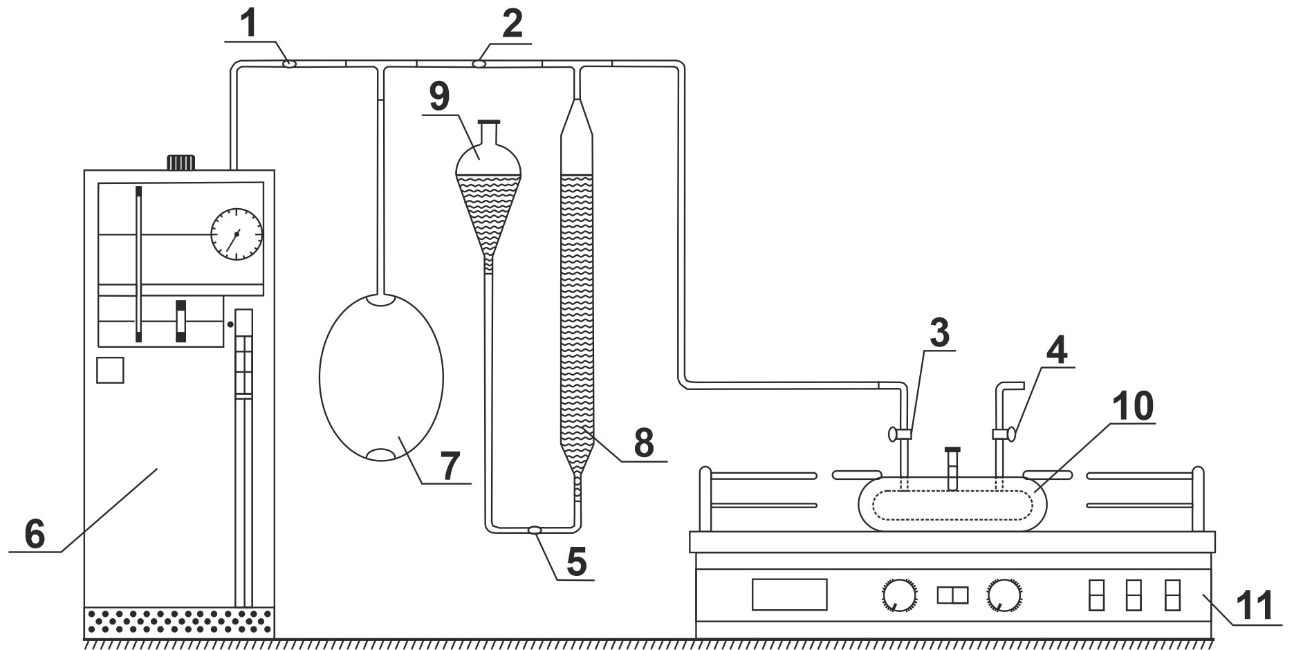
1. Schematic diagram of the installation for hydrogenation at atmospheric pressure. Valves (1–5), hydrogen generator (6), buffer tank (7), cylindrical vessel (8), pressure tank (9), hydrogenation reactor (10), stirring device (11). | |
| Subject | ||
| Type | Research Instrument | |
View
(111KB)
|
Indexing metadata ▾ | |
|
|
2. This is to certify that the paper titled Synthesis and reactions of alkenyl-gem-dichlorocyclopropanes obtained from piperylene commissioned to us by Airat I. Musin, Yulianna G. Borisova, Gul’nаra Z. Raskil’dina, Ruslan U. Rabaev, Rustem R. Daminev, Simon S. Zlotskii has been edited for English language and spelling by Enago, an editing brand of Crimson Interactive Inc. | |
| Subject | CERTIFICATE OF EDITING | |
| Type | Other | |
View
(423KB)
|
Indexing metadata ▾ | |
- Alkenyl-gem-dichlorocyclopropanes were synthesized in the presence of triethylbenzyl ammonium chloride as catalyst.
- Their isomerization and hydrogenation gave the corresponding gem-dichlorocyclopentene and isomers of alkyl-gem-dichlorocyclopropanes.
- The results show that formation of four isomeric substituted gem-dichlorocyclopropanes occurs in high yield during incomplete dichlorocyclopropanation of piperylene. The thermocatalytic isomerization of substituted gem-dichlorocyclopropanes in the presence of SAPO-34 zeolite leads to the formation of one product, i.e., gem-dichlorocyclopentene, and hydrogenation of substituted gem-dichlorocyclopropanes in the presence of Pd/C catalyst gives three isomeric alkyl-gem-dichlorocyclopropanes.
Review
For citations:
Musin A.I., Borisova Yu.G., Raskil’dina G.Z., Rabaev R.U., Daminev R.R., Zlotskii S.S. Synthesis and reactions of alkenyl-gem-dichlorocyclopropanes obtained from piperylene. Fine Chemical Technologies. 2020;15(5):16-25. https://doi.org/10.32362/2410-6593-2020-15-5-16-25






















